CENTRAL HIGH MOUNTED STOP LAMP [CHMSL]
- Disconnect the negative battery cable.
- Open the tailgate.
- Pry off the tailgate trim panel. Refer to Section 9G Interior Trim.
- Remove the CHMSL cover.
- Remove the screws (1).
- Remove the CHMSL cover (2).
- Remove the CHMSL and bulb.
- Remove the screws (1).
CHMSL MOUNTING BRACKET
Removal Procedure- Disconnect the negative battery cable.
- Remove the center high–mounted stop lamp (CHMSL).
- Remove the rear window wiper motor assembly. Re-fer to Section 9D, Wipers/Washer Systems.
- Remove the CHMSL mounting bracket.
- Remove the bolts (1).
- Remove the CHMSL mounting bracket (2).
LICENSE PLATE LAMPS
Removal Procedure- Disconnect the negative battery cable.
- Remove the license plate lamp from the tailgate handle.
- Remove the screws (1).
- Draw out the license plate lamp (2).
- Remove the license plate lamp bulb (3).
- Remove the rear window wiper motor assembly
- Disconnect the electrical connector in the tailgate.
- Remove the tailgate handle.
- Remove the license plate lamp socket.
- Remove the socket (1).
DOOR JUMP SWITCH
Removal Procedure- Disconnect the negative battery cable.
- Remove the door jamb switch.
- Remove the screw (1).
- Disconnect the electrical connector (2).
- Remove the door jamb switch (3).
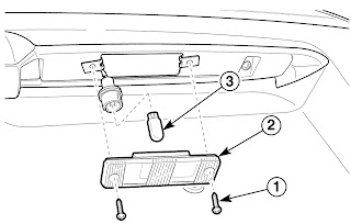
INTERIOR COURTESY LAMP
Removal Procedure- Disconnect the negative battery cable.
- Remove the interior courtesy lamp.
- Pry off the interior courtesy lamp lens (1).
- Remove the screws (2).
- Disconnect the electrical connector (3).
- Remove the interior courtesy lamp (4).
DAYTIME RUNNING LAMP MODULE
(W/Europe Only)Removal Procedure
- Disconnect the negative battery cable.
- Disconnect the electrical connector (1).
- Remove the screws (2) and the daytime running lamp module.
LUGGAGE ROOM LAMP
Removal Procedure










